【レベル7】3D CADのロフトとスイープをマスターせよ!テルえもんクエストII(7)(3/3 ページ)

» 2025年12月19日 09時00分 公開
前のページへ 1|2|3       

ポイント(2)ロフトとスイープをマスターする重要性

 従来の2D図面では、ロフトやスイープによって作られた形状意図を、正確かつ十分に伝えることは容易ではありません。断面図を何枚も配置し、注記で補足を加えたとしても、形状の連続的な変化や設計者の狙いまでは表現し切れず、最終的には図面を読む側の解釈に委ねられる部分がありました。

 一方、3D CADでモデルを設計意図に基づいて正しく構築すれば、形状そのものが設計情報となり、言葉や補足説明に頼らずとも意図を伝えることが可能です。断面の変化や経路の取り方、曲率のつながりといった要素は、モデルを見るだけで直感的に理解できます。この考え方は、モデルを設計情報の中核とする「MBD(Model Based Definition)」の思想と一致します。

 ロフトとスイープをマスターすることは、単に難しい形状を自由に作れるようになるだけではありません。形状がどのように変化していくべきかを設計者自身が考え、製造方法を意識しながら形を構築し、さらに設計変更にも柔軟に対応できるモデルを作ることが求められます。その一つ一つの判断が、設計者としての力量を形づくっていきます。

 ロフトとスイープは、設計者の思考そのものを形として表現するためのツールといえます。読者の皆さまが単なる操作の習得にとどまらず、「設計」を語れる設計者へと一歩踏み出していただければ幸いです。

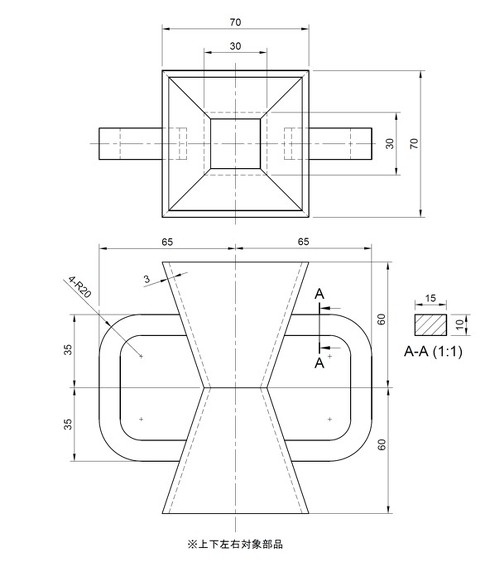
問スター(9)があらわれた!

 ここで、お約束の問スター(9)があらわれました。

問スター(9) 図5 問スター(9)[クリックで拡大]

 スケッチで断面やパスをしっかりと作成し、ロフトやスイープなどのアイテム(機能)を駆使して3Dモデル化しましょう!

 問スター(9)の倒し方の手順と、テルえもん直伝の攻略法動画は次回お届けします!! それでは、次のクエストでまたお会いしましょう! (レベル7へ続く)

⇒ 連載バックナンバーはこちら

筆者プロフィール

小原照記(おばら てるき)

いわてデジタルエンジニア育成センターのセンター長、3次元設計能力検定協会の理事長も務める。3D CADを中心とした講習会を小学生から大人まで幅広い世代の人に行い、3Dデータを活用できる人材を増やす活動をしている。また企業の困り事に対し、デジタルツールを使って支援している。人は宝、財産であると考え、時代に対応する、即戦力になれる人財、また、時代を創るプロフェッショナルな人財の育成を目指している。優秀な人財がいるところには、仕事が集まり、人が集まって、より魅力ある街になっていくと考えて地方でもできること、地方だからできることを考えて日々活動している。


前のページへ 1|2|3       

Copyright © ITmedia, Inc. All Rights Reserved.

特別協賛PR
スポンサーからのお知らせPR
Pickup ContentsPR
Special SitePR
あなたにおすすめの記事PR